PG¹ú¼Ê-´´Á¢ºÍÈö²¥ÎÄÓéÁìÓòµÄÓÅÃÀÌåÑéÓÎϷƽ̨

½Ó´ý¹âÁÙPG¹ú¼Ê-´´ÔìºÍ´«²¥ÎÄÓéÁìÓòµÄÃÀºÃÌåÑéÓÎϷƽ̨¹ÙÍø£¡

  • ¹ú¼Ò֪ʶ²úȨ¾Ö±¸°¸É̱êÊðÀí»ú¹¹
  • ¹ú¼Ò֪ʶ²úȨ¾Ö±¸°¸×¨ÀûÊðÀí»ú¹¹(»ú¹¹´úÂë37247)
  • ÇൺÊÐÊÖÒÕÌõԼЧÀ͵ã ÇൺÊпƼ¼Ð§¹û±ê×¼»¯ÆÀ¼Û»ú¹¹
  • ÌìÏÂ֪ʶ²úȨЧÀÍÆ·ÅÆÅàÓý»ú¹¹
  • ¹ú¼ÒÊÖÒÕ×ªÒÆÊ÷Ä£»ú¹¹

ÌìÏÂͳһ×Éѯµç»°£º

(0532)81117588

ÐÂÎÅ×ÊѶ

Ä¿½ñλÖÃ: Ê×Ò³ > ÐÂÎÅÖÐÐÄ > ÐÂÎÅ×ÊѶ

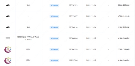
¿ìÀ´¿´£¬£¬£¬ £¬£¬¹óÖÝę́ÐÂͼÐÎÉ̱곤ɶÑù

Ðû²¼Ê±¼ä£º2022-12-01 00:00:00ȪԴ£ºÉ̱êȦµã»÷£º0 ·µ»ØÁбí

         Ã©Ì¨¾Æ£¬£¬£¬ £¬£¬ÊÇÓëËÕ¸ñÀ¼ÍþÊ¿¼É¡¢·¨¹ú¿ÆÄù¿Ë°×À¼µØÆëÃûµÄÌìÏÂÈý´óÕôÁóÃû¾ÆÖ®Ò»£¬£¬£¬ £¬£¬ÖÁ½ñÒÑÓÐ800¶àÄêµÄÀúÊ·¡£¡£¡£¡£¡£

PG¹ú¼Ê¹ÙÍø
 
       ºã¾ÃÒÔÀ´£¬£¬£¬ £¬£¬Ã©Ì¨¼¯ÍŸ߶ÈÖØÊÓÆ·ÅÆÅàÓýºÍÆ·ÅÆËÜÔ죬£¬£¬ £¬£¬Ç¿»¯Æ·ÅÆÖÎÀí£¬£¬£¬ £¬£¬Ò»Ö±ÌáÉýÆ·ÅÆ¼ÛÖµ£¬£¬£¬ £¬£¬´Ó¶øÍƶ¯ÁËę́¾ÆÆ·ÅƵĹú¼Ê»¯ºÍÊг¡»¯£¬£¬£¬ £¬£¬Ã©Ì¨¾Æ³§½¨Éè³õÆÚ “½ðÂÖÅÆ”¾Æ±ê£»£»£»£»£»20ÊÀ¼Í50ÄêÔÂÄ© “·ÉÌìÅÆ”ÍâÏúę́¾Æ¼°¾Æ±ê£»£»£»£»£»ÆäÆ·ÅÆ±£»£»£»£»£»¤µÄÒâʶÊÇ¿ÉȦ¿ÉµãµÄ¡£¡£¡£¡£¡£
 
       ½ñÄêÖÐÇï½Ú£¬£¬£¬ £¬£¬Ã©Ì¨¼¯ÍÅÔøÍÆ³ö“Сé”Êְ죬£¬£¬ £¬£¬ÄêÇữ¡¢Ê±Éл¯£¬£¬£¬ £¬£¬ÒÔ“·ÉÌìÀ¿Ã÷Ô¡¢Ã©ÔÏ×íÖÐÇï”ΪÉè¼ÆÀíÄ£¬£¬ £¬£¬Éí´©¹Å×°£¬£¬£¬ £¬£¬ÊÖÅõÓðõü£¬£¬£¬ £¬£¬½Å²ÈÏéÔÆ£¬£¬£¬ £¬£¬ÓñÍÃÏà°é£¬£¬£¬ £¬£¬Ð¡Ã©Ëƺõ´©Ô½»Ø¹Å´ú£¬£¬£¬ £¬£¬ÓëÎôÈËÅö±­ÑûÃ÷Ô£¬£¬£¬ £¬£¬×íÇí½¬£¬£¬£¬ £¬£¬ÆíÍÅÔ²£¬£¬£¬ £¬£¬Êܵ½Ðí¶àÈ˵Äϲ»¶¡£¡£¡£¡£¡£
PG¹ú¼Ê¹ÙÍø
 
PG¹ú¼Ê¹ÙÍø
 
PG¹ú¼Ê¹ÙÍø
 
PG¹ú¼Ê¹ÙÍø
 
       ¿ËÈÕ£¬£¬£¬ £¬£¬Öйú¹óÖÝę́¾Æ³§£¨¼¯ÍÅ£©ÓÐÏÞÔðÈι«Ë¾ÉêÇë×¢²á¶à¸öͼÐÎÉ̱꣬£¬£¬ £¬£¬Ôٴμ¤ÆðÁËÎ񵀼̮æÐÄ£¬£¬£¬ £¬£¬¹ÅÉ«¹ÅÏ㣬£¬£¬ £¬£¬Ê®·ÖÔÃÄ¿¡£¡£¡£¡£¡£Ã©Ì¨µÄÕâ×é¹Å·çÉè¼Æ£¬£¬£¬ £¬£¬ÔÚ¹ú³±Á÷ÐÐÈ·µ±Ï£¬£¬£¬ £¬£¬¸üÊÇÌÖϲ£¬£¬£¬ £¬£¬Ïë±Ø»áÊÕ»ñÒ»ÖÚÄêÇáµÄÏûºÄÕßȺÌåµÄÇàíù¡£¡£¡£¡£¡£
 
       É̱겻µ«½öÊÇ·ûºÅ±êʶ£¬£¬£¬ £¬£¬¸üÊÇÔ̺¬ÁËÆóÒµÐÅÓþºÍÆ·ÅÆ¼ÛÖµ£¬£¬£¬ £¬£¬ÉÌÆ·Äܹ»ÔÚÊг¡ÉÏÈ¡µÃ²»Ë×µÄÏûºÄÒµ¼¨ºÍÊг¡·Ý¶î£¬£¬£¬ £¬£¬ÓëÆ·ÅÆÈ¨Á¦È˺ÍʹÓÃÕßµÄͶÈëÃܲ»¿É·Ö¡£¡£¡£¡£¡£
  • PG¹ú¼Ê¹ÙÍø

    ¸ßÆ·ÖÊЧÀÍ

    Ò»¶ÔÒ»£¬£¬£¬ £¬£¬Ð§ÀÍÖªÐÄÖÜÃÜ£¬£¬£¬ £¬£¬¼ÛÇ®¹ûÕæÍ¸Ã÷
  • PG¹ú¼Ê¹ÙÍø

    ¿ìËÙÏìÓ¦¿Í»§ÐèÇó

    һվʽÊÖÐøÖÎÀí£¬£¬£¬ £¬£¬Íê³ÉÉúÒâÁ÷³Ì
  • PG¹ú¼Ê¹ÙÍø

    È«³Ì¸ú×ÙЧÀÍ

    ËæÊ±Ïàͬ¿Í»§£¬£¬£¬ £¬£¬ÖúÁ¦Í¨¹ý
  • PG¹ú¼Ê¹ÙÍø

    ר¼Ò¼¶Ö¸µ¼

    רҵµÄ̸Åм°Ö¸µ¼£¬£¬£¬ £¬£¬Ò»¶ÔÒ»¾­¼ÍÈË
  • PG¹ú¼Ê¹ÙÍø

    ×ÊÉîЧÀÍÍŶÓ

    רҵ³ÏÐÅ£¬£¬£¬ £¬£¬ÓÅÖʸßЧ£¬£¬£¬ £¬£¬ÑÏ¿áΣº¦°Ñ¿ØÓë¼û¸æ
  • PG¹ú¼Ê¹ÙÍø

    ƽ̨°ü¹ÜÈ«³ÌЧÀÍ

    רҵÕÕÁÏһվʽһ¶ÔÒ»Ö¸µ¼Ð§ÀÍ
¡¾ÍøÕ¾µØÍ¼¡¿¡¾sitemap¡¿